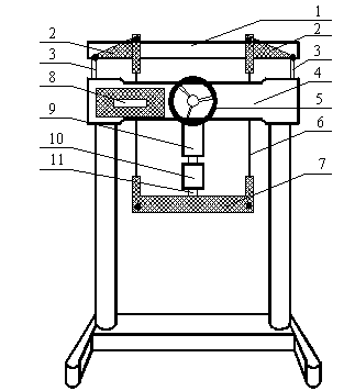
弯曲梁实验装置如图4-1所示。它有弯曲梁、定位板、支座、试验机架、加载系统、两端万向接头的加载拉杆、加载压头(包括Φ16的钢珠)、加载横梁、载荷传感器和测力仪等组成。该装置的弯曲梁是一根已粘贴好应变片的钢梁,其弹性模量
。实验时,转动手轮加载至
时,钢梁的B、C处分别受到垂直向下的力,大小均为
,由剪力图得到BC段剪力为零,故BC段梁为纯弯曲段,弯矩为
,梁的受力图、剪力图及弯矩图如图4-2所示。
1. 钢梁 2. 定位板 3. 支座 4. 试验机架

5. 加载手轮 6. 拉杆 7. 加载横梁 8. 测力仪
9. 加载系统 10. 载荷传感器 11.加载压头
图4-1 纯弯曲梁试验装置
图4-2 简支梁受力图、剪力图及弯矩图

由理论推导得出梁纯弯曲时横截面上的正应力公式为:
(4-1)
式中M为横截面上的弯矩,Iz为梁横截面对中性轴z的惯性矩,y为需求应力的测点离中性轴的距离。为了验证此理论公式的正确性,在梁纯弯曲段的侧面,沿不同的高度粘贴了电阻应变片,测量方向均平行于梁轴,布片方案及各片的编号见图4-3所示。当梁加载变形时,利用电阻应变仪测出各应变片的应变值,然后根据单向应力状态的虎克定律求出各点实测的应力值。
(4-2)
式中
——钢梁的弹性模量;
——电阻应变仪测量的应变值。

图4-3 应变片分布图
将测得的应力值与理论应力值进行比较,从而验证弯曲正应力公式的正确性。
有关电阻应变片的结构和工作原理可详见实验二。
由于式(4-1)、式(4-2)适用于比例极限以内,故梁的加载必须在此范围内进行。为了随时观察变形与载荷的线性关系,实验时第一次采用增量法加载,即每增加等量载荷△P,测读各点的应变一次,观察各次的应变增量是否也基本相同。然后,再重复加载从零至最终载荷两次,以便了解重复性如何。由于应变片是按中性层上下对称布置的,因此,在每次加载、测读应变值后,还可以分析其对称性,最后,取三次最终载荷所测得的应变平均值计算各点的应力值σ实。
本实验用电测法测量应变,采用半桥温度补偿接法,如图4-4所示。因是多点测量,且七个测量点的温度条件相同,为方便测量,七片测量片共用一片温度补偿片,即公共补偿的办法。
图4-4 半桥测量法

同济大学力学实验中心版权所有 技术支持与开发:上海哲涛科技有限公司 管理入口