一、 电子万能试验机简介
1、 构造原理
测定材料力学性能的主要设备是材料试验机。一般把同时可以作拉伸、压缩、剪切和弯曲等多种实验的试验机称为万能材料试验机。供静力实验用的万能材料试验机有液压式、机械式和电子机械式等类型。下面介绍的电子万能试验机为电子机械式的试验机,它是电子技术与机械传动相结合的一种新型试验机,以CSS-44000型试验机为例,它由主机、控制器、计算机系统及附件所组成。如图1-3。
![]() |
4.功率放大器 5.计算机显示器 6.打印机 7.计算机主机
图1-3 电子万能试验机布局图
(1) 主机部分
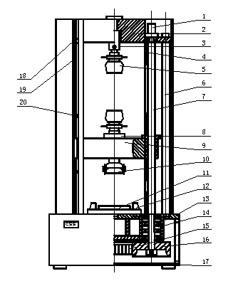
电子万能试验机主机由负荷机架、传动系统、夹持系统和位置保护装置等四部分组成。如图1-4。
1) 负荷机架
负荷机架由四立柱支承上横梁与工作台板构成门式框架,两丝杠穿过动横梁两端并安装在上横梁与工作台板之间。工作台板由两个支脚支承在底板上,且机械传动减速器也固定在工作台板上。工作时,伺服电机驱动机械传动减速器,进而带动丝杠转动,驱使动横梁上下移动。试验过程中,力在门式负荷框架内得到平衡。
2) 传动系统
传动系统由数字式脉宽调制直流伺服系统、减速装置和传动带轮等组成。执行元件采用永磁直流伺服电机,其特点是响应快,而且该电机具有高转矩和良好的低速性能。由与电机同步的高性能光电编码器作为位置反馈元件,从而使动横梁获得准确而稳定的试验速度。

1.位移编码传感器 2.上横梁 3.万向联轴节
4.防尘罩 5.拉伸夹具 6.立柱
7.滚珠丝杆副 8.负荷传感器 9.活动横梁
10.上压头 11.下压板 12.弯曲试台
13.工作台 14.轴承组 15.圆弧齿形带
16.大带轮 17.底板 18.导向节
19.限位杆 20.限位环
图1-4 电子式万能试验机主机结构图
3) 夹持系统
对于100kN和200kN规格的电子万能试验机,在拉伸夹具的上夹头均安装有万向连轴节,它的作用是消除由于上、下拉伸夹具的不同轴度误差带来的影响,使试样在拉伸过程中只受到沿轴线方向的单向力,并使该力准确地传递给负荷传感器。但是500kN规格的电子万能试验机的夹具不用万向连轴节,而是通过连杆直接与夹具刚性连接。对于双空间结构的电子万能试验机(如100kN和200kN规格的试验机),下夹头安装在动横梁上。对于单空间结构的电子万能试验机(如500kN的试验机),下夹头直接安装在工作台板上。
4) 位置保护装置
动横梁位移行程限位保护装置由导杆、上、下限位环以及限位开关组成,安装在负荷机架的左侧前方。调整上、下限位环可以预先设定动横梁上、下运动的极限位置,从而保证当动横梁运动到极限位置时,碰到限位环,进而带动导杆操纵限位开关触头切断驱动电源,动横梁立即停止运行。
(2) 数字控制器
数字控制系统由德国DOLI公司的EDC120数字控制器和直流功率放大器组成。其中功率放大器的作用在于功率放大、驱动和控制电机。通常情况下,数字控制器与计算机相联,利用计算机软件控制和完成各种实验。
2、 测量系统

图1-5 轮辐式拉压传感器
电子式万能试验机测量系统包括载荷测量、试样变形测量和活动横梁的位移测量等三部分。
(1) 载荷测量
载荷测量是通过负荷传感器来完成的,本实验所用的负荷传感器为应变片式拉、压力传感器,由于这种传感器以电阻应变片为敏感元件,并将被测物理量转换成为电信号,因此便于实现测量数字化和自动化。应变片式拉、压力传感器有圆筒式、轮辐式等类型,本试验机上采用轮辐式传感器。见图1-5所示,应变片通常接成全桥以提高其灵敏度和实现温度补偿。
轮辐式拉、压力传感器的弹性元件为四根应变梁,从图中可知轮轴处受到载荷
作用后,四根应变梁受到剪切力,在梁的45°方向和-45°方向分别受到拉应变和压应变,故与传感器受拉方向成45°方向贴四枚应变片
、
、
、
,与传感器受拉方向成-45°方向贴四枚应变片
、
、
、
,然后把对称且同一方向的应变片两两串联组成测量电桥。当载荷变化时被测应变片的电信号量同时也发生变化,应变片电测原理详见§2-2应变电测原理简介。
(a)
(b)
(c)
图1-6 变形传感器外形、结构原理及应变测量桥路图
(2) 变形测量
试样的伸长变形量是通过变形传感器来测得的。本实验所用的变形传感器为应变式轴向引伸仪。其外形、结构原理及应变测量桥路分别见图1-6(a)、(b)、(c)所示。引伸仪主要由刚性变形传递杆、弹性元件及贴在其上的应变片和刀刃等部件所组成。
为引伸仪的初始标距,其长度靠定位销插入销孔来确定。实验前,将引伸仪装夹于试样上,当两刀刃以一定压力与试样接触,刀刃就与接触点保持同步移动,试样变形就准确地传递给引伸仪,该压力通过绑在试样上的橡皮筋得到,于是,在传递杆带动下,引伸仪的弹性元件产生弯曲应变
。从几何关系可以得到,在一定范围内
与
可视为正比关系,故测得
后,就可知道试样的伸长
,然后通过控制器并经放大后输入计算机。
(3) 位移测量
活动横梁相对于某一初始位置的位移量是借助丝杠的转动来实现的,滚珠丝杠转动时,装在滚珠丝杠上的光电编码传感器输出的脉冲信号经过转换而测得。
同济大学力学实验中心版权所有 技术支持与开发:上海哲涛科技有限公司 管理入口