首 页
材料力学
理论力学
流体力学
通知通告
资料下载
关于我们
返回力学实验中心
功能
基本信息
流体力学
>> 动量定律(方程)实验 >>
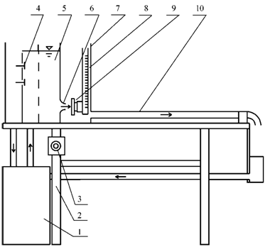
动量方程实验装置图
1.自循环供水器 2.实验台 3. 可控硅无级调速器 4. 水位调节阀 5.恒压水箱6管嘴
7..集水箱 8.带活塞的测压管 9.带活塞和翼片的抗冲平板 10.上回水管